查看: 26118|回覆: 23
收起左側

BS8K頻道的22.2聲道如何還原?

[複製連結]

發表於 2018-12-2 21:34:09 | 顯示全部樓層 |閱讀模式

馬上註冊,結交更多好友,享用更多功能,讓你輕鬆玩轉社區。

您需要 登錄 才可以下載或查看,沒有賬號?註冊

x
剛剛觀賞了乃木坂46 的神宮球場演唱會,整體很讚!
也感覺得出這一場的導播功力深厚,整場8K演唱會安排的超讚,充分發揮8K高解析與超廣視覺的構圖。

不過22.2聲道該如何還原?現階段有借決方案嗎??

目前所知 Lyngdorf MP-50和 Trinnov Audio 的環繞處理器可以接收22.2聲道,不過還沒有機會實際測試,有沒有其他人有更進一步的消息?

不過真的只為了NHK 102台的8K頻道,而對精研小劇院做整個聲音大改造,這工程是真的不小。

_DSC0002 - 複製.jpg







發表於 2018-12-2 22:40:14 | 顯示全部樓層
本帖最後由 qhqhn 於 2018-12-2 10:43 PM 編輯

請問8K視頻是:每秒60幀,還是120幀?

8K電視節目可以拷貝到電腦上播放嗎?

4K電視節目可以拷貝到電腦上播放嗎?播放時,是軟解清晰,還是硬解清晰?
回覆

使用道具 舉報


發表於 2018-12-3 03:18:49 | 顯示全部樓層
qhqhn 發表於 2018-12-2 10:40 PM
請問8K視頻是:每秒60幀,還是120幀?

8K電視節目可以拷貝到電腦上播放嗎?

一般節目是60p 體育和部分直播是120p。8k現在專機只有站長這臺sharp 8sc00aw1,配的外置硬碟錄機8R-C80A1可以錄,別說複製了。bs4k因為現在換成了內置的acas加密繫統,還沒有可以自由複製的機子,大概iodata會出,還要等待。
回覆

使用道具 舉報


發表於 2018-12-3 14:39:51 | 顯示全部樓層
這串討論的題目是: 如何還原 22.2 聲道
樓上兩位都離題甚遠.

目前已知所有的 BS4K/8K tuner, 全部都不支援 22.2 聲道回放
唯一支援 22.2 聲道的機器, 是 Sharp TU-SH1050
http://www.sharp.co.jp/business/8k-receiver/products/8k-receiver/

這一部機器其實是 Super Hi-Vision 展示機, 一般人也買不到
除了由四條 HDMI 連接至 8K 電視
還有三條 HDMI 連接至三台 8CH 擴大機
達成 22.2 (24) 聲道的回放
TU-SH1050-1.jpg

TU-SH1050-2.jpg

雖然目前 HDMI 2.0 已經支援 32 Channel 24bit 192KHz Sample rate 無壓縮 LPCM, 但是目前尚未有擴大機支援此格式
所以一開始都是用三台 8CH 環繞擴大機來拼裝出 22.2 (24) CH 聲道
24ch_audio.jpg
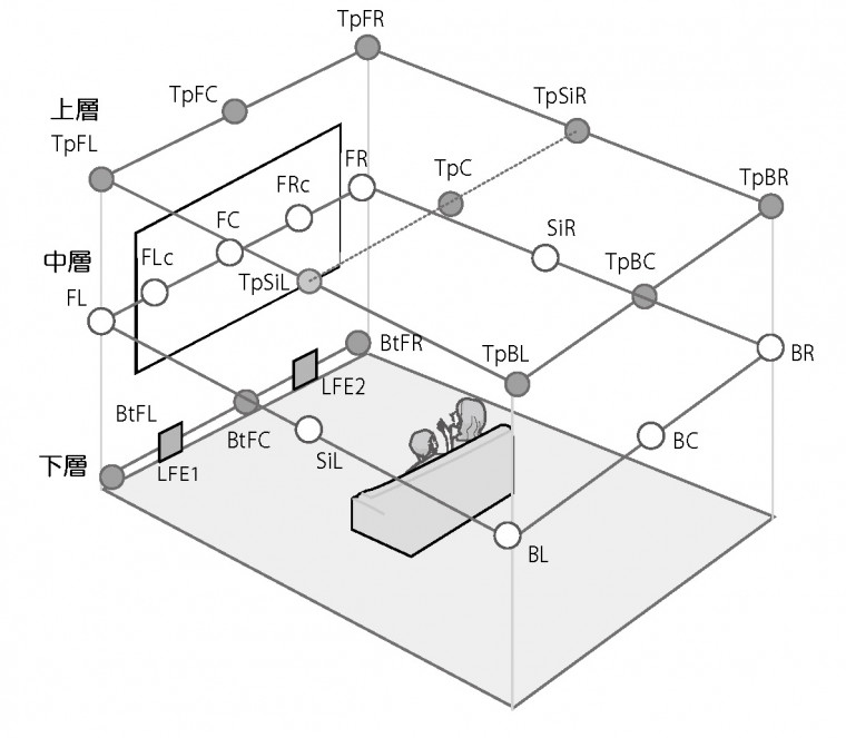
22.2 聲道是由 上層 9CH, 中層 10CH, 下層 3CH, 以及兩個 LFE 達成
配置相當複雜


Lyngdorf MP-50 和 Trinnov Audio 看規格並未提及 LPCM 可接受到多少 Channel
應該是不支援 24CH LPCM 吧?
回覆

使用道具 舉報


 樓主| 發表於 2018-12-3 21:04:49 | 顯示全部樓層
KOBSS 發表於 2018-12-3 02:39 PM
這串討論的題目是: 如何還原 22.2 聲道
樓上兩位都離題甚遠.

感謝小康解說。
起碼NHK先把規格訂出來了,後續就看哪幾家擴大機廠商要跟進了。
回覆

使用道具 舉報


發表於 2018-12-3 22:13:05 | 顯示全部樓層
22.2絕對不是比喇叭數
是比你房間大小啊
回覆

使用道具 舉報


發表於 2018-12-4 09:51:35 | 顯示全部樓層
NHK福岡放送局 22.2聲道體驗(6:25開始,偷拍角度)
回覆

使用道具 舉報


發表於 2018-12-4 11:41:21 | 顯示全部樓層
22.2ch對一般民眾家庭環境真的是一大考驗⋯
如果可以downmix 到家用Atmos 7.2.4,
似乎5年內比較有可能實現⋯

不然看有無機會先有一台tuner能像Sharp 展示機,
聲音解碼支援3條HDMI輸出pcm,最好還可以選downmix幾ch,
然後自己再用3台綜擴或前後級去接喇叭。

要不然一台有22顆放大器的擴大機,
光體積、重量就不適合出現在家用市場⋯
回覆

使用道具 舉報


發表於 2018-12-5 21:29:40 | 顯示全部樓層
west 站長大大可能要取得的是這樣的設備。
若是這台プロセッサー的話,也就符合目前現有的狀況了,
現在NHK也一樣是三台AMP來還原22.2ch。

上面板友分享的是一體式的測試用Tuner,
現在應該只能拿來接收民放三台,而非NHK BS8K頻道了。

<NHK技研公開>アトモス/DTS:Xの活用で22.2chサラウンドを現行AVアンプでも取り扱い可能に







回覆

使用道具 舉報


發表於 2018-12-5 23:51:47 | 顯示全部樓層
stereo sound 連結
看起來22.2ch轉Atmos應該會比較早實現,
前幾天在渋谷stream hall舉辦的
4K・8K SUPER Hi-VISION PARK有展示,
看圖片似乎是Sharp展示的。
回覆

使用道具 舉報


 樓主| 發表於 2018-12-8 05:38:25 | 顯示全部樓層
yuanpu 發表於 2018-12-5 11:51 PM
stereo sound 連結
看起來22.2ch轉Atmos應該會比較早實現,
前幾天在渋谷stream hall舉辦的

現在利用8k tuner 的HDMI聲音輸出轉光纖經由Accuphase DP750,發現只有前面2CH,並不是DOWNMIX輸出的。接下來會找一台環繞擴大機來試試看。

真希望22.2ch轉Atmos 的技術能趕緊下放到擴大機廠商。
回覆

使用道具 舉報


 樓主| 發表於 2018-12-8 05:41:57 | 顯示全部樓層
tpdsp0598 發表於 2018-12-5 09:29 PM
西大可能要取得的是這樣的設備。
若是這台プロセッサー的話,也就符合目前現有的狀況了,
現在NHK也一樣是 ...

這樣的設置,比較適合營業場所。

我們精研小劇院,如果能將22.2 CH轉換成13.2 CH我就非常滿足了。
回覆

使用道具 舉報


發表於 2018-12-9 00:17:26 | 顯示全部樓層
不知道西楓大觀賞8K時,聲音有爆音的狀況嗎?

目前我使用的Panasonic DMR-SCZ2060,
看NHK 4K節目不管22.2/5.1/2ch全部都有爆音的情形。
這台藍光錄影機可以記錄下聲音原格式,
只是目前設備只能downmix 成PCM 5.1,
不過能記錄原格式至少燒成光碟可以拿到以後的機器放,
這也是我選Pana沒選Sharp的原因。

關於爆音,第二天的久石讓音樂會就注意到了,
這幾天試了很久方法,也拿到新竹宿舍交叉比對,全部都有爆音。
後來google到日本網友blog,他試了Sony、Toshiba tuner也都一樣,
看來是NHK放送時就出了問題。

話說,小弟也好想看8K的乃木坂啊!
回覆

使用道具 舉報


 樓主| 發表於 2018-12-24 07:47:41 | 顯示全部樓層
BS8K台也真奇怪,未必每個節目都有HDR,不過節目一定都是22.2聲道帶另一軌5.1聲道。

辦公室已經補了一部DENON 4500H來當作HDMI切換器兼做BS8K台的聲音處理。

擔心昨天下雨衛星訊號不好,一早來檢查昨天錄下的BS8K畫面,完美!
MISIA LIVE~One Mic,One Band~
DSC00004 - 複製.JPG
DSC00001 - 複製.JPG





回覆

使用道具 舉報


發表於 2018-12-24 10:05:57 | 顯示全部樓層
看來可以著手來做個22.2 HDMI splitter了
回覆

使用道具 舉報


 樓主| 發表於 2018-12-28 09:43:47 | 顯示全部樓層
可望在2019年 實現22.2聲道的重播!

https://av.watch.impress.co.jp/docs/topic/pb2018/1160343.html
回覆

使用道具 舉報


 樓主| 發表於 2018-12-28 09:44:25 | 顯示全部樓層
前幾天錄下來的西野加奈8K演唱會,昨天搬出來欣賞。演唱會的攝影機大多為固定機位拍攝,很少有失焦,畫質與音質都是極品。聲音部分的處理是以SHARP 8K接收機聲音專用HDMI端子輸出到 Denon X4500H,得到5.1聲道的音軌,再由擴大機DownMIx 為兩聲道播放。

心血來潮從口袋裡掏出 DJI Osmo pocket 口袋機測試拍攝
8Kスーパーライブ 西野カナ in 福岡






回覆

使用道具 舉報


 樓主| 發表於 2018-12-28 09:51:55 | 顯示全部樓層
ufjl1785 發表於 2018-12-24 10:05 AM
看來可以著手來做個22.2 HDMI splitter了

有辦法自己DIY?
回覆

使用道具 舉報


發表於 2019-8-30 09:59:38 | 顯示全部樓層
站长录了8K视频的??好像没有人分享些片源出来呢,不晓得8K比4K能清晰多少
回覆

使用道具 舉報


發表於 2020-6-14 23:01:15 | 顯示全部樓層
22.2-1.png

22.2-2.png
回覆

使用道具 舉報

您需要登錄後才可以回文 登入 | 註冊

本版積分規則

熱門推薦

這支是史上最美揚聲器?Starke Sound Halo C2 中置揚聲器開箱-Part.1
這支是史上最美揚聲器?St
這支是史上最美揚聲器?Starke Sound Halo C2 中置揚聲器開箱-
25年專業劇院路終遇驚喜美麗新天地 - 新店李師傅Storm Audio風暴Core16客廳5.4.6開箱!
25年專業劇院路終遇驚喜美
25年專業劇院路終遇驚喜美麗新天地 - 新店李師傅Storm Audio風暴
當英倫貴族遇上法國大腦與美式肌肉:Tannoy Dimension 經典重生記
當英倫貴族遇上法國大腦與
當英倫貴族遇上法國大腦與美式肌肉:Tannoy Dimension 經典重生
MadVR Labs 全新體驗中心 —— 與 StormAudio 攜手打造「家庭劇院的終極巔峰」
MadVR Labs 全新體驗中心
MadVR Labs 全新體驗中心 —— 與 StormAudio 攜手打造「家庭劇
風暴EVO AoIP/帝瓦雷Phantom 7.0.4金蛋客廳劇院建構歷程心得  - 發燒友Phil Lee分享
風暴EVO AoIP/帝瓦雷Phant
風暴EVO AoIP/帝瓦雷Phantom 7.0.4金蛋客廳劇院建構歷程心得 -

聯絡我們| 問題反映| 小黑屋| 手機版| Archiver|  本網站特別聘請 蔡家豪律師 為本站法律顧問

快速回覆 返回頂部 返回列表